Sortes de manoeuvres
Systèmes de volets roulants
1. Manoeuvre manuel - sangle
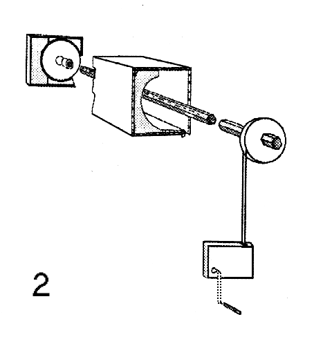
2. Manoeuvre manuel – – treuil à corde
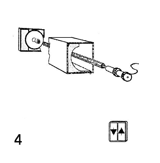
3. Manoeuvre manuel – treuil rigide
4. Manoeuvre électrique
Systèmes de volets roulants
1. Manoeuvre manuel - sangle
2. Manoeuvre manuel – – treuil à corde
3. Manoeuvre manuel – treuil rigide
4. Manoeuvre électrique